Filtres (9690 produits)

Marque

Modèle

Pour Guide

Pour Coupe

Longueur Coupe

Dimension Pas de Chaine

Dimension A (Ø Extérieur)

Dimension A (Alésage)

Dimension A (Longueur)

Dimension B (Ø Intérieur)

Dimension B (Ø Extérieur)

Dimension B (Alésage)

Dimension B (Epaisseur)

Dimension B (Hauteur)

Dimension B (Largeur)

Dimension B (Profondeur du Puit)

Dimension C (Ø Trou Extérieur)

Dimension C (Alésage)

Dimension C (Entraxe)

Dimension C (Epaisseur)

Dimension C (Epaisseur Totale)

Dimension C (Hauteur)

Dimension D (Entraxe)

Dimension D (Epaisseur Totale)

Dimension D (Hauteur Totale)

Dimension D (Largeur)

Dimension D (Longueur Moyeu)

Dimension E (Ø de Centrage)

Dimension E (Alésage)

Dimension E (Largeur)

Dimension F (Ø Poulie)

Dimension F (Profondeur du puit)

Dimension Epaisseur de Chaine

Largeur de Coupe

Système de Coupe

Entrainement

Démarrage

Dimension Longueur Extérieure

Dimension Longueur Intérieur

Dimension Longueur Primitive

Dimension Longueur

Dimension Largeur

Dimension Hauteur

Dimension Ø de Sortie

Surface Maxi Recommandée

Dimension E (Hauteur)

181002211/0 - Toile de Bac pour Tondeuse Castelgarden / GGP / Stiga

1810022110
Voir nos délais de livraisons
53,21 € TTC

Quantité

Description
Toile de Bac pour tondeuse Castelgarden / GGP / Stiga

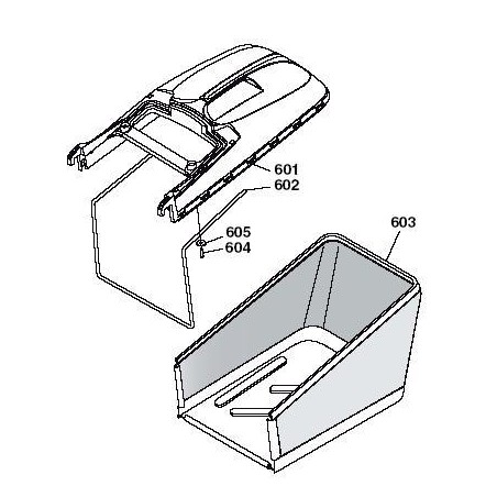
Correspond au repère 603


Pour modèle :

CASTELGARDEN :

R434 - R434TR - R434TRE - R484 - R484TR - R484TRE 

RL434 - RL434TRE - RL484 - RL484TR - RL484TRE

SPL484 - SPL484TR - SPL484TRE - SPL484TR4S - SPL484TRE4S

TD434 - TD484 - TD484TR - TD484TRE - TD484WTR

WL484 - WL484TR - WL484TRE - WL484TR4S - WL484TRE4S  

Tous les modèles ne sont pas dans la liste

Détails du produit
1810022110
8008984945357

Fiche technique

Marque
CastelGarden
Stiga
Ancienne Référence
81002211/0
GGP 1810022110LC
GGP 1810022110LC
Vous pourriez également être intéressé par le(s) produit(s) suivant(s)

Suivez-nous sur Facebook